Quiz: Flyg- och rymd-historia

Låst
varjag
Saknad medlem †
Inlägg: 48101
Blev medlem: 24 april 2002, 12:53
Ort: Australien

Re: Quiz: Flyghistoria

Inlägg av varjag » 21 mars 2016, 10:05

sveahk skrev:Ja, 1935 hittade vi under motorhuven på 11 av 28 tyska militärplan brittiska och amerikanska motorer - som Rolls-Royce, Armstrong-Sidley och Pratt&Whitney. Exempel...Ju 52, Ju 86, Ju 87, Hs 122 och helt säkert hittade vi en RR-motor i Bf 109-prototypen, He 70 och den på varjags bild visade He 112...
Dessutom köpte Bayerischen Motorenwerke (BMW) en licens, och kunde så själva bygga Rolls-Royces 600 hk-motornKestrel VI.

Hans K
Rolls Royce Kestrel-motor satt mycket riktigt i Heinkel 70 och 112, Henschel 122, Junkers 86 och 87 och Messerschmitt's 109:a prototyp -
D-IABI.png
med redig kylare ''under hakan''....

sveahk's fråga, Varjag

Användarvisningsbild
sveahk
Redaktör och stödjande medlem 2026
Inlägg: 12325
Blev medlem: 3 februari 2005, 15:28
Ort: Klockrike

Re: Quiz: Flyghistoria

Inlägg av sveahk » 21 mars 2016, 12:26

Tack för det - nästa är för en gångs skull en personfråga...

Två kämpar av samma slag - och hon var en av tusen...
samma1.jpg
samma2.jpg
Vem var hon?

Hans K

varjag
Saknad medlem †
Inlägg: 48101
Blev medlem: 24 april 2002, 12:53
Ort: Australien

Re: Quiz: Flyghistoria

Inlägg av varjag » 21 mars 2016, 22:54

''Sexy Rexy'' - eller Ola Mildred Rexroat - veteranflygare med ''Women Airforce Service Pilots'' eller (WASP notera kragsnibbarna )

https://en.wikipedia.org/wiki/Women_Air ... ice_Pilots

http://rapidcityjournal.com/news/last-s ... 002e0.html

Varjag

Användarvisningsbild
sveahk
Redaktör och stödjande medlem 2026
Inlägg: 12325
Blev medlem: 3 februari 2005, 15:28
Ort: Klockrike

Re: Quiz: Flyghistoria

Inlägg av sveahk » 21 mars 2016, 23:51

Ola Mildred Rexroat, som Red Cloud på första bilden, en äkta Oglala Lakota - hon gick en annan väg när andra världskriget kom än Rosie Riveter - "det var för farligt" - istället blev hon militärpilot i det amerikanska WASP-programmet, den enda med indianskt blod. Flyttade plan från A till B, flög måltavlor för unga hetsporrade kadettpiloter. Född 1917 och är hon inte död så lever hon ännu...

Varjag startar nästa.

Hans K

varjag
Saknad medlem †
Inlägg: 48101
Blev medlem: 24 april 2002, 12:53
Ort: Australien

Re: Quiz: Flyghistoria

Inlägg av varjag » 22 mars 2016, 01:01

Tack sveahk - och en till personfråga......denne flygare
en øversteløjtnant.jpg
en øversteløjtnant.jpg (35.9 KiB) Visad 1020 gånger
var ledarpilot i ett ytterst vågat företag. Som bl.a. innebar låg lågflygning och - landing i beckmörker. Utan fpl-strålkastare eller banljus.... 8O

Han med tre kollegor - lyckades! Och överaskade fienden.....

Vem är han och vad handlade företaget om?

Varjag

varjag
Saknad medlem †
Inlägg: 48101
Blev medlem: 24 april 2002, 12:53
Ort: Australien

Re: Quiz: Flyghistoria

Inlägg av varjag » 22 mars 2016, 20:29

glada leenden efteraat.....jpg
glada leenden efteraat.....jpg (84.79 KiB) Visad 997 gånger
Varjag

Användarvisningsbild
Gyps
Medlem
Inlägg: 487
Blev medlem: 18 september 2003, 23:12
Ort: Kopparbergs län

Re: Quiz: Flyghistoria

Inlägg av Gyps » 22 mars 2016, 23:59

Handlar det om Entebbe?

varjag
Saknad medlem †
Inlägg: 48101
Blev medlem: 24 april 2002, 12:53
Ort: Australien

Re: Quiz: Flyghistoria

Inlägg av varjag » 23 mars 2016, 00:13

Gyps skrev:Handlar det om Entebbe?
Absolut....

varjag
Saknad medlem †
Inlägg: 48101
Blev medlem: 24 april 2002, 12:53
Ort: Australien

Re: Quiz: Flyghistoria

Inlägg av varjag » 30 mars 2016, 00:47

Det var segt här - :roll:

Mannen var Joshua Shani - chefspilot vid Entebbeoperationen

https://www.idfblog.com/blog/2012/07/05 ... ief-pilot/

Frågan är fri!

Varjag

Användarvisningsbild
gostap
Medlem
Inlägg: 2554
Blev medlem: 28 september 2005, 22:45
Ort: Höga tornet
Kontakt:

Re: Quiz: Flyghistoria

Inlägg av gostap » 31 mars 2016, 11:56

Då snor jag den..
Bilagor
startrek1.JPG
Mvh

Gostap

"Fortis in adversis humilis in secundis"

varjag
Saknad medlem †
Inlägg: 48101
Blev medlem: 24 april 2002, 12:53
Ort: Australien

Re: Quiz: Flyghistoria

Inlägg av varjag » 31 mars 2016, 13:25

Nåt tidigt SST project???, Varjag

Användarvisningsbild
gostap
Medlem
Inlägg: 2554
Blev medlem: 28 september 2005, 22:45
Ort: Höga tornet
Kontakt:

Re: Quiz: Flyghistoria

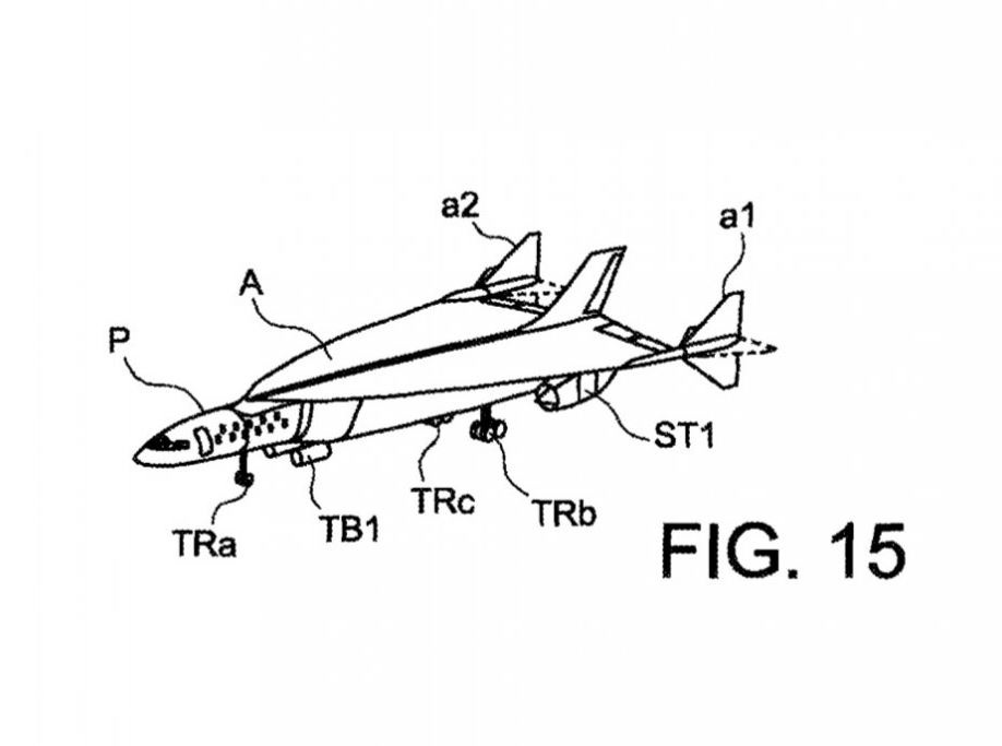
Inlägg av gostap » 31 mars 2016, 13:53

rör sig om ett patent... dock inte på motorerna :)
Bilagor
motorer.JPG
Mvh

Gostap

"Fortis in adversis humilis in secundis"

varjag
Saknad medlem †
Inlägg: 48101
Blev medlem: 24 april 2002, 12:53
Ort: Australien

Re: Quiz: Flyghistoria

Inlägg av varjag » 31 mars 2016, 21:01

Airbus Mach 4.png
Airbus Mach 4.png (42.03 KiB) Visad 836 gånger
Varjag

Användarvisningsbild
gostap
Medlem
Inlägg: 2554
Blev medlem: 28 september 2005, 22:45
Ort: Höga tornet
Kontakt:

Re: Quiz: Flyghistoria

Inlägg av gostap » 1 april 2016, 03:29

yes, varjag flyger vidare....
Mvh

Gostap

"Fortis in adversis humilis in secundis"

varjag
Saknad medlem †
Inlägg: 48101
Blev medlem: 24 april 2002, 12:53
Ort: Australien

Re: Quiz: Flyghistoria

Inlägg av varjag » 1 april 2016, 07:45

Tack gostap, som
...en bra landning....jpg
...en bra landning....jpg (80.89 KiB) Visad 796 gånger
brukade de kallas , då piloten själv kunde gå från flygplanet......
Om planet kunde användas igen - var det en Bonus :)

Men vad har landat här?, Varjag

Låst